图:B/E Aerospace公司发明的平躺式新座椅
【美国旅游新闻网】2015年6月30日消息:据《澳大利亚商务旅行者》报道,有少数商务舱座椅能够让乘客在飞机滑行、起飞和降落阶段将座椅后仰。但如果你登机以后就可以马上躺下来直到下飞机,你觉得怎么样?

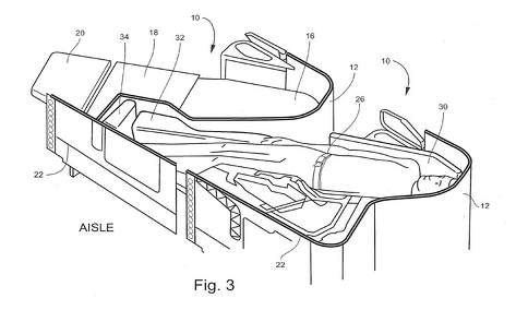
这正是B/E Aerospace公司科研人员这一独特设计背后的理念:用气囊将座椅包围,为乘客提供更舒适和安全的乘机体验。
B/E Aerospace公司在本周的一项美国专利申请中披露了这一创新,申请中将其称为可以在飞机滑行、起飞和降落时平躺的座椅,对该座椅的描述是“让乘客可以在起飞前就平躺在座椅上,甚至进入梦乡。”

飞机从离开登机口到起飞前需要滑行不少时间。这个方法的确能让乘客好好利用这段时间多补充点睡眠。在机场休息室解决晚饭后,就可以直接登机睡觉了。
B/E Aerospace公司在专利申请陈述中表示,飞机座椅的这种功能会吸引那些为了能够在长途飞行中躺下休息或睡觉而愿意多花钱的乘客。B/E Aerospace公司称:“这种座椅的设计不仅仅能让乘客更快进入梦乡。只需在乘客周围布置一些气囊,就好比汽车里的气囊保护一样,这样,平躺的姿势能更好地保护乘客不受伤。”这些气囊也可以适应座椅平躺和竖直之间的位置。“这些气囊可以选择性地膨胀或缩小,以配合座椅从平躺姿势调节为竖直姿势时的不同位置。”

这项发明让人想起了的第一代商务舱平躺座椅,其在业内被称为FB1或“大力神”设计,也因其座椅周围高高的隔板和平躺的位置被一些乘客嘲讽为“小隔间舱”,甚至是“棺材舱”。

除此之外,B/E Aerospace公司对于飞机座位布局还有很多构思和设计。卡塔尔航空最新商务舱设计和维珍澳大利亚航空的下一代商务舱设计理念均是他们的杰作。B/E Aerospace的设计人员还在构思“突破型”商务舱套间理念:它既是座椅,也可兼作高空办公室。

http://www.citytripinfo.com/travel/11289【美国旅游新闻网】